一、描述
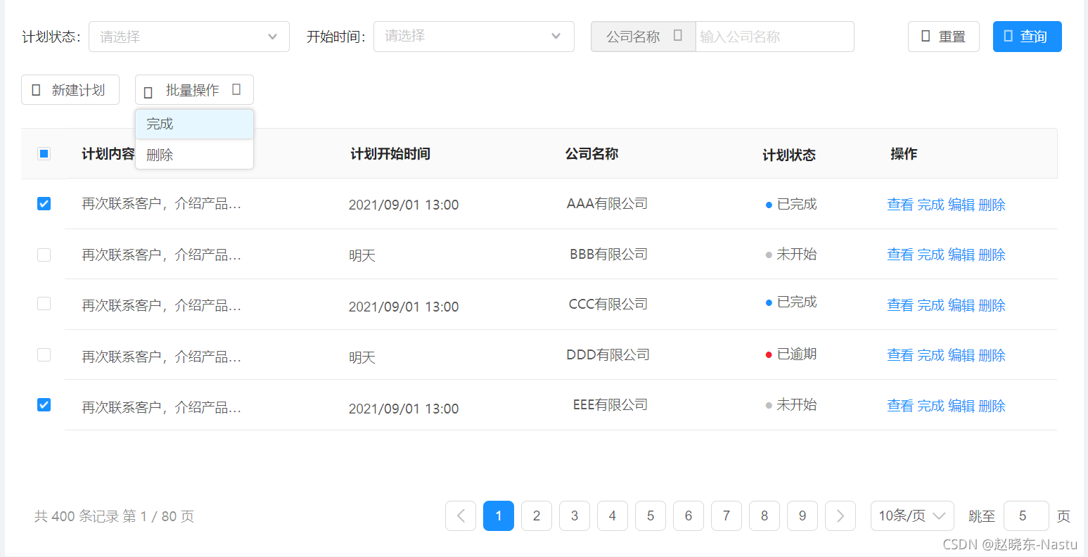
实现下图中的功能,分析一下该功能,既有分页查询又有根据计划状态、开始时间、公司名称进行动态查询。

二、实现方式
Controller层
/**
* @param userId 专员的id
* @param planState 计划状态
* @param planStartTime 计划开始时间
* @param emtCode 公司名称-分身id
* @return java.util.List<com.hc360.crm.entity.po.PlanCustomer>
* @Author zhaoxiaodong
* @Description 高级查询-根据计划状态、计划的时间、公司名称查询
* @Date 9:04 2021/9/29
*/
@PostMapping("/selectPlanByStateTimeCompany")
public Page<CrmCustomerPlan> selectPlanByStateTimeCompany(@RequestParam(required = false,defaultValue = "1")int limit, @RequestParam(required = false,defaultValue = "1")int page, @RequestParam(required = true) Long userId,@RequestParam(required = false,defaultValue = "0") int planState,@RequestParam(required = false) String planStartTime,@RequestParam(required = false) Long emtCode) {
//获取该专员下所有状态为未开始的计划
List<CrmCustomerPlan> myPlanList = crmCustomerPlanService.selectNoStartPlan(userId);
if (StringUtil.isNotEmpty(planStartTime)){
//判断计划的开始时间和当前时间
DateTimeFormatter dtf = DateTimeFormatter.ofPattern("yyyy-MM-dd HH:mm:ss");
LocalDateTime planTime = LocalDateTime.parse(planStartTime, dtf);
//存放已逾期的计划
List<CrmCustomerPlan> overDuePlan = new ArrayList<>();
for (CrmCustomerPlan customerPlan : myPlanList) {
if (LocalDateTime.now().isAfter(planTime)) {
//当前时间在计划时间之后,说明过了计划时间,这时候我们要将它的状态改为已逾期
customerPlan.setPlanState(PlanStateEnum.OVERDUE.getCode());
overDuePlan.add(customerPlan);
}
}
if (overDuePlan.size() > 0) {
//遍历完之后,我们就可以对数据进行更改了
crmCustomerPlanService.updateBatchById(overDuePlan);
}
}
//接下来,就是对数据进行查询
return crmCustomerPlanService.selectPlanByStateTimeCompany(limit,page,userId, planState, planStartTime, emtCode);
}
在Controller中有limit、page。limit为每页限制的数量、page为第几页
Service层
/**
* @param userId
* @return java.util.List<com.hc360.crm.entity.po.PlanCustomer>
* @Author zhaoxiaodong
* @Description 高级查询-根据计划状态、时间、公司名称查询
* @Date 9:06 2021/9/29
*/
@Override
public Page<CrmCustomerPlan> selectPlanByStateTimeCompany(int limit,int page,Long userId, int planState, String planStartTime, Long emtCode) {
Page<CrmCustomerPlan> pagelimit= new Page(page,limit);
QueryWrapper<CrmCustomerPlan> crmCustomerPlanQueryWrapper = new QueryWrapper<>();
crmCustomerPlanQueryWrapper.eq("create_user_id", userId);
if (planState!=0){
crmCustomerPlanQueryWrapper.eq("plan_state", planState);
}
if (StringUtil.isNotEmpty(planStartTime)){
crmCustomerPlanQueryWrapper.eq("plan_start_time", planStartTime);
}
if (StringUtil.isNotEmpty(String.valueOf(emtCode))){
crmCustomerPlanQueryWrapper.eq("emt_code", emtCode);
}
return crmCustomerPlanMapper.selectPage(pagelimit,crmCustomerPlanQueryWrapper);
}
在Service层中,可以通过if和QueryWrapper实现动态SQL的查询。
分页,用到了Page对象,一定要是Mybatis的。然后调用selectPage,将对象和查询条件传入进去即可。
三、 总结
MybatisPlus是真的好用,省了我们写很多的SQL语句 以及配置信息
Mybatis的分页配置信息
/**
* 新的分页插件
*/
@Bean
public MybatisPlusInterceptor mybatisPlusInterceptor() {
MybatisPlusInterceptor mybatisPlusInterceptor = new MybatisPlusInterceptor();
mybatisPlusInterceptor.addInnerInterceptor(new PaginationInnerInterceptor(DbType.MYSQL));
return mybatisPlusInterceptor;
}